Для приготовления шоколадных изделий требуется большое количество какао-масла, которое получают, прессуя какао тертое на гидравлических прессах. Твердый остаток, образующийся после прессования и называемый какао-жмыхом, перерабатывают в товарный или производственный какао-порошок.
Выход масла составляет 44… 47 % массы какао тертого. При этом в жмыхе остается 10,5… 17% жира. Выход какао-масла, т.е. его количество, отжимаемое прессованием, при одинаковых условиях ведения процесса может колебаться и зависит главным образом от содержания жира в исходном продукте.
При получении какао-масла прессованием на полуавтоматических и автоматических прессах необходимо иметь в виду, что стабильность их работы и получаемые результаты зависят от вязкости, влажности и степени измельчения какао тертого, температуры, продолжительности вымешивания и процесса прессования, конечного давления, достигнутого при прессовании, от способа и характера препарирования, а также содержания в какао тертом
Таким образом, важную роль в производстве какао-порошка играет не только сам процесс прессования, но и вся технологическая подготовка полуфабриката (какао тертого) к процессу прессования.
Оборудование для прессования какао тертого. При тонком измельчении какао тертого стенки клеток, в которых находится какао-масло, полностью разрушаются. Очень важно, чтобы влажность какао тертого не превышала 1,5… 2,5 %. В результате многочасового вымешивания и нагревания какао тертого до 85…90°С снижается влажность, уменьшается его вязкость и облегчается отделение какао-масла. Продолжительность прессования может быть значительно сокращена при использовании какао тертого влажностью не выше 1,2….1.5%.
Из какао тертого с более высоким содержанием жира, тонко измельченного, полученного из хорошо обжаренных какао-бобов, влажностью не более 1… 1,5 % и прошедшего процесс препарирования, извлечение масла прессованием протекает лучше.
При прессовании обычно наблюдаются небольшие колебания количества какао тертого, загружаемого в пресс, и неодинаковое содержание жира в жмыхе, извлеченном из различных чаш пресса (отклонение от средней величины ± 1,2…2,6%).
Полученный после прессования какао-жмых измельчают и получают какао-порошок.
Для получения какао-масла применяются гидропрессовые установки, которые состоят из гидравлического пресса (вертикального или горизонтального), дозатора какао тертого, гидравлического насоса высокого давления и пульта управления. Установки с горизонтальным прессом дополнительно снабжаются устройствами для приема и транспортирования какао-жмыха.
Гидравлический пресс обычно имеет 3, 6, 12 или 22 рабочие камеры (чаши), расположенные друг под другом (вертикальный пресс) или одна за другой (горизонтальный пресс). Рабочая камера представляет собой цилиндр, закрытый с торцов фильтрующими элементами, один из которых может входить внутрь, создавая давление на какао тертое. Фильтрующие элементы состоят из мелкой тканой металлической сетки, опирающейся на дренажную сетку с пробивными отверстиями, которая, в свою очередь, опирается на диск с отверстиями и цилиндрическими канавками. Наличие фильтров с обеих сторон чаши создает благоприятное условие для двухстороннего отвода какао-масла из рабочей камеры.
Рис. 5.37. Циклы работы горизонтального гидравлического пресса
Рабочие камеры (рис. 5.37) располагаются между боковой плитой 1 и гидравлической камерой 9, которые соединяются двумя или тремя траверсами (стяжками) 2.
При работе горизонтального пресса осуществляются три последовательных цикла (I,II, III).
В течение цикла I происходит заполнение чаш 5 пресса какао тертым. При этом прессовые столы 4, на торцевой поверхности которых закреплены сетчатые фильтры 6, прижаты к чашам 5, внутрь которых под давлением поступает определенный объем какао тертого.
Цикл II прессования начинается после заполнения чаш пресса. Рабочая жидкость поступает в камеру 9 плунжера 8 пресса, и он, двигаясь вперед, действует на прессовые столы, в результате чего находящееся в чашах какао тертое с большой силой сдавливается с двух сторон. Отпрессованное какао-масло проходит через сетки фильтров и выводится из пресса.
Затем наступает цикл III— разгрузка пресса и подготовка его к заполнению. Гидравлическая система возвращает плунжер 8пресса в первоначальное положение. Отжимные цилиндры, сдавливая пружины 7 пресса, вводят пуансоны 3 прессовых столов в чаши и выталкивают из них жмых, который падает вниз и выводится из пресса разгрузочным устройством. После снятия давления в отжимных цилиндрах чаши прессовые столы вновь принимают положение, обеспечивающее возможность заполнения пресса какао тертым.
Процесс извлечения какао-масла осуществляется при температуре 90… 100 °С. Для поддержания этой температуры прессовые столы обогревают паром давлением 0,2…0,25 МПа. Пар подводится по гибким металлическим шлангам.
В стабильной и безаварийной работе автоматических гидропрессовых установок большую роль играют устройства, дозирующие и заполняющие чаши постоянным объемом какао тертого; гидравлический насос и транспортирующие механизмы.
Для дозирования и заполнения чаш применяют несколько систем: систему заполнения прессов через дозатор насосами, не связанными с гидросистемой пресса, систему заполнения с промежуточным бачком-дозатором, снабженным гидроцилиндром, и систему, совмещающую операции заполнения и предварительного прессования.
Оборудование для производства какао-порошка. Полученный после прессования какао-жмых перед дроблением должен быть охлажден до температуры 30…35°С, иначе при размоле будет выделяться расплавленное какао-масло, которое замажет рабочие органы оборудования.
Измельчение какао-жмыха осуществляется в две стадии: грубое, предварительное, с помощью зубовалковых мельниц и тонкое, окончательное, с помощью размольных агрегатов, снабженных молотковой или штифтовой дробилкой и устройствами для механической, воздушной или комбинированной (механической и воздушной) сепарации какао-порошка.
Работа зубовалковой мельницы с одной парой валков осуществляется следующим образом. Валки мельницы (рис. 5.38) вращаются с одинаковой скоростью. Блок жмыха поступает в мельницу через щель 8, которая ограничена снизу наклонной поверхностью 7, а сверху — ограждающей решеткой 9. Жмых захватывается выступа-
Рис. 5.38.Зубовалковая мельница с одной парой валков.
ющими зубьями 2вращающихся валков би 11. Валки набираются из дисков, закрепленных на валах 3 и 12. Диски соединяются тремя стяжками 4. Привод валка 6 осуществляется от электродвигателя редуктора 15 через зубчатые передачи 14 и 16. Верхний валок 11 приводится в движение от нижнего через зубчатую передачу.
Жмых, попадая в зазор между валками, раздавливается зубьями, рассыпаясь на куски разной величины, которые падают вниз и попадают в шнек 7, выводящий их из мельницы. Шнек приводится в движение от мотор-редуктора 15 цепной передачей 77.
Оптимальный зазор между валками устанавливают путем перемещения верхнего валка 11с помощью регулировочного устройства 10. Перед пуском дробилки проверяют правильность расположения и надежность гребенок 5 и 13, служащих для зачистки пространства между зубьями дисков.
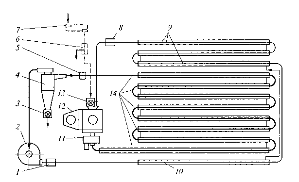
Размольный агрегат SCR для какао-порошка с теплообменником «труба в трубе» (рис. 5.39) фирмы «Бюлер» (Швейцария)предназначен для измельчения гранул какао-жмыха в какао-порошок. Агрегат состоит из дезинтегратора 12, трубчатых охладителей порошка 14 и воздуха 9, циклона-осадителя 4 и вентилятора 2.
Гранулы какао-жмыха через вибродозатор 7 проходят отделитель ферропримесей 6 и через роторный шлюзовой затвор 13 поступают в дезинтегратор 12. Последний имеет два штифтовых ротора, вращающихся навстречу друг другу, с отдельным приводом. Частота вращения одного ротора регулируется преобразователем частоты, а другого — с помощью съемных шкивов клиноременной передачи. Относительная скорость между роторами возможна в пределах 120…240 м/с.
Рис. 5.39. Размольный агрегат SCR для какао-порошка с теплообменником «труба в трубе»
Полученный в результате измельчения какао-порошок температурой около 100 °С поступает в трубчатый охладитель 14.
Охлажденный какао-порошок осаждается в циклоне-насадите- ле 4, из которого затем выгружается роторным шлюзовым затвором 3. Очищенный воздух из циклона-осадителя 4 отсасывается вентилятором 2 и после охлаждения в трубчатых охладителях 9 и 10 нагнетается в дезинтегратор 12.
Таким образом, воздух движется по замкнутой системе без выброса в окружающую среду.
В агрегате предусмотрена система автоматической очистки трубчатого теплообменника. Шлюзы 7 и 77 служат для ввода очищающего устройства, а шлюзы 5 и 8 — для его удаления из теплообменника.
Теплообменник охлаждается рассолом (11%-ный хлорид кальция температурой от -4 до +1 °С), трубы покрыты теплоизоляцией.
Для поддержания постоянного расхода воздуха вентилятор 2 снабжен регулируемым по частоте вращения приводом. Мельница и вентилятор помещаются в звукоизолирующую кабину, агрегат снабжен термопарами для обнаружения искр, определения местонахождения очищающего устройства и для пожаротушения при помощи двуокиси углерода.
Вся система работает под разрежением, поэтому пыли при работе агрегата не образуется и потери какао-порошка минимальные. На агрегате получают какао-порошок высокого качества.
Производительность агрегата составляет 1000…3000 кг/ч.

Hi,
I could not understand the process in detail.
If any video demonstration would be posssible., that would be really kind