Матрицы изготовляют из антикоррозийных прочных материалов, таких, как латунь ЛС59-1 (ГОСТ 15527 — 70), твердая фосфористая бронза БрАЖ9-4л и нержавеющая сталь 1Х18Н9Т (ГОСТ 5949 — 75). При отсутствии нержавеющей стали ее заменяют менее дефицитной хромистой сталью марок 2X13 и 3X13 (ГОСТ 5949 — 75).
Виды матриц. Круглые матрицы (рис. 4.5). Устанавливают в шнековых прессах для производства коротких изделий, так как ее форма обеспечивает наиболее эффективную резку таких изделий; исключением является макаронный пресс ЛПЛ-2М, где круглая матрица имеет более широкое применение.
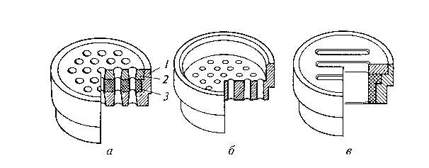
Рис.4.5. Круглые матрицы
а — с подкладным колосником; б — с накладным колосником; в — высотой 60 мм
Размеры матрицы зависят от производительности пресса. В прессах ЛПЛ-2М используют матрицы диаметром 298 мм, в прессах ЛГТШ —350 мм, в прессах зарубежных фирм — 400 мм и более.
Высота матриц должна отвечать условиям прочности, Так как в шнековых прессах матрицы постоянно испытывают высокое давление по всей площади — от 7 до 9 МПа. Это давление особенно возрастает в момент пуска пресса — до 10… 14 МПа.
Матрицы диаметром 298 мм изготовляются трех типоразмеров по высоте: 22, 28 и 60 мм. Первые две эксплуатируются со специальными опорными устройствами — колосниками. На производстве применяют колосники двух типов — подкладные и накладные.
В матрицах с подкладными колосниками (см. рис. 4.5, а) имеются две поперечные полосы 3, которыми матрицы устанавливаются на ребра 1 колосников. Диаметр обечайки 2 таких колосников равен диаметру круглой матрицы 4. Матрицы с подкладными колосниками имеют ограниченное применение, так как позволяют формовать изделия, которые режутся только в подвесном состоянии.
В матрицах с накладными колосниками (см. рис. 4.5, б) в центральной части имеется отверстие, в которое вставляется болт 2 с двумя поперечными ребрами 1. Матрица и ребра стягиваются гайкой 3.
Матрицы высотой 60 мм (см. рис. 4.5, в) имеют необходимую прочность и эксплуатируются без колосников. Такой тип матриц наиболее широко распространен.
Прямоугольные двухполосные матрицы (рис. 4.6) устанавливают в тубусах шнековых прессов для формования длинных изделий с последующим развешиванием их на бастуны. Двухполосные матрицы применяют в прессах автоматизированных линий, где две пряди отформованных изделий распределяются одновременно на два бастуна. Каждая полоса матрицы имеет по нескольку рядов формующих отверстий. Число рядов зависит от размера поперечного сечения изделий: в матрицах для макарон особых диаметром 5 мм и лапши широкой сечением 1 х 4 мм формующие отверстия в каждой полосе расположены в два ряда, для макарон
Рис. 4.6. Прямоугольная двухполосная матрица
соломка диаметром 3,5 мм — в – три, для вермишели тонкой диаметром 1,8 мм — в семь рядов.
Прямоугольные матрицы имеют длину 955… 1245 мм, ширину 200 мм. Толщина матриц колеблется от 35 до 50 мм.
Формующие отверстия макаронных матриц. Формующие отверстия подразделяются на два вида: без вкладышей для формования нитеобразных и лентообразных макаронных изделий и с вкладышами для формования трубчатых изделий и некоторых видов фигурных изделий.
Из матриц с формующими отверстиями без вкладыша наибольшее распространение получили матрицы с вставками для производства вермишели и лапши. Их изготовляют из латуни, диаметром 298 и высотой 60 мм. В диске матрицы высверлены колодцы, внутри которых устанавливаются вставки, имеющие форму дисков диаметром 18 или 20 мм и толщиной 5… 10,5 мм. В каждой вставке просверлены отверстия различного профиля (рис. 4.7).
На рис. 4.7, а изображена дисковая вставка 1 для формования вермишели обыкновенной диаметром 1,5 мм. В круглой матрице 102 такие вставки, в каждой по 19 формующих отверстий, армированных фторопластом. Всего в матрице 1938 отверстий.
Дисковая вставка имеет фторопластовую прокладку 3 толщиной 4 мм и верхний диск 2, который защищает фторопласт от
Рис. 4.7. Дисковые вставки макаронных матриц для формования: а — вермишели обыкновенной; б — вермишели тонкой; в — лапши
Формующие отверстия матриц
Размер сечения, мм | Число дисковых вставок | Число формующих отверстий в каждой вставке | Общее число формующих отверстий диаметром 298 мм в матрице |
Вермишель | |||
1,5 | 102 | 19 | 1938 |
1,2 | 102 | 55 | 5610 |
2,5 | 114 | 10 | 1140 |
Лапша | |||
3 х 1 | 102 | 11 | 1122 |
3 х 1,6 | 120 | 5 | 600 |
5 х 1 | 102 | 11 | 1122 |
7 х 1,2 | 120 | 3 | 360 |
7,2 х 1,2 | 120 | 2 | 240 |
нагрузок и повреждений при попадании в колодец посторонних предметов.
Изображенная на рис. 4.7, 6 дисковая вставка имеет 55 отверстий диаметром 1,2 мм для формования более тонкой вермишели. У этой дисковой вставки более простая конструкция; она не армирована фторопластом. Матрицы для лапши мало чем отличаются от матриц для вермишели. Разница только в конструкции дисковых вставок (табл. 4.1). У дисковых вставок для лапши (см. рис. 4.7, в) формующие отверстия имеют в сечении форму прямоугольной щели с закругленными краями, чтобы изделия не рвались по длине.
Одним из основных требований, которому должны удовлетворять формующие отверстия, является наличие антиадгезионных свойств. Для формующих отверстий изготовляют специальные вставки из фторопласта-4. Кроме того, формующие отверстия можно полировать, хромировать, но это менее эффективно.
Формующее отверстие матриц с вкладышами состоит из двух основных элементов: многоступенчатого канала цилиндрической формы, высверленного в диске матрицы, и закрепленного в канале вкладыша.
На рис. 4.8 представлены формующие элементы в макаронных матрицах различных конструкций для получения трубчатых изделий. На рис. 4.8, а изображена конструкция формующего элемента, не армированного фторопластом. Пластифицированное тесто под большим давлением входит в цилиндрическую часть отверстия 5 наибольшего диаметра, рассекается опорами 4 вкладыша
Рис. 4.8. Формующие элементы макаронных матриц различных конструкций.
а — не армированный фторопластом; б — с фторопластовым кольцом;
в — для получения рожков рифленых; г — с трехопорным вкладышем,
на три потока и, обойдя их, поступает в более узкую переходную часть 3 канала, где три потока теста соединяются, предварительно уплотняются и, обтекая ножку 2 вкладыша, превращаются в трубку. Окончательное формование и уплотнение изделия происходят в формующей щели 1 матрицы.
На рис. 4.8, б показана конструкция формующих отверстий, имеющих фторопластовое кольцо 2 ступенчатого профиля, установленное на выступе 7 корпуса матрицы. Высота кольца соответствует высоте формующей щели 3. Над кольцом располагается металлическая втулка 4, которая предохраняет его от давления потока теста и поддерживает опоры 5 вкладыша.
Обе конструкции формующих элементов используются в круглых матрицах диаметром 298 мм для формования трубчатых макарон диаметром 5,5 и 7 мм, а также для формования рожков диаметр более 20 мм.
На рис. 4.8, в изображены формующие отверстия для получения рожков рифленых. В отличие от макарон рожки имеют изогнутую форму. Это достигается тем, что в ножке 2 вкладыша имеется выемка 7, в результате сопротивление выходу теста через формующее отверстие с этой стороны уменьшается, тесто выходит с большей скоростью и загибает трубку в противоположную
В прямоугольных матрицах формующий элемент имеет трехопорный вкладыш (см. рис. 4.8, г) со сквозным отверстием. Такая конструкция формующего элемента обеспечивает поступление воздуха внутрь макаронной трубки через высверленный канал в матрице и через металлическую трубку-вкладыш. Необходимость такой конструкции вызвана тем, что после формования через прямоугольные матрицы изделия развешиваются на бастуны. В этом случае в местах перегиба трубки на бастуне или при отрезании макаронных прядей может возникнуть вакуум, вследствие чего трубчатые изделия могут слипнуться.
Трубчатые изделия | Диаметр изделий, мм | Число формующих отверстий в матрице |
Макароны: | ||
особые | 5,5 | 600 |
обыкновенные | 7 | 420 |
Рожки: | ||
гладкие | 3,6 | 432 |
рифленые | 5 | 272 |
» | 5,5 | 214 |
гладкие | 5,5 | 278 |
особые | 5,5 | 600 |
Число формующих отверстий в матрицах диаметром 298 мм для формования трубчатых изделий приведено ниже.
Основы технологического расчета макаронных матриц. Производительность П (кг/с) макаронной матрицы по сухим изделиям определяют по формуле:
где u — скорость формованияизделий из матрицы, м/с (u = – 0,02…0,05 м/с); рт — плотность спрессованного теста, кг/м3 (рт = = 1300… 1350 кг/м3); Wт и Wи— влажность соответственно теста и сухих изделий, % (Wт = 29…32% и Wи = 12,5… 13%);f— площадь живого сечения матрицы, м2.
Площадь живого сечения матриц для трубчатых изделий f, вермишели fв и лапши /л определяют по следующим формулам:![]()
где n — число отверстий в матрице; <dи — диаметр формующей щели, м; dв — диаметр ножки вкладыша, м;![]()
где d0 — диаметр формующего отверстия, м;![]()
где I и а — соответственно длина и ширина формующей щели, м.
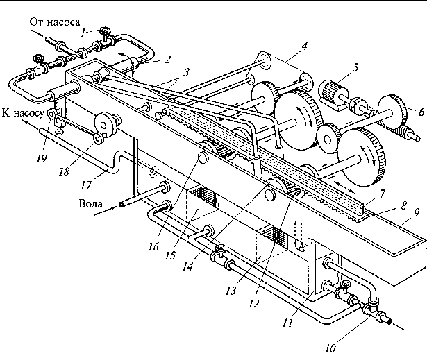
Мойка матриц. Для мойки круглых и прямоугольных матриц предназначена универсальная машина ЛМН (рис. 4.9), состоящая из следующих основных узлов: поддона 9 со сливной трубой, механизма привода, качающихся сопловых устройств 3, бака-ловушки 11, насоса и системы трубопроводов с вентилями 1, 10.
Поддон 9 выполнен в виде замкнутого корытообразного профиля с откидывающейся крышкой и установлен внутри литой станины, которая придает необходимую жесткость и устойчивость всей маши-
Рис. 4.9. Машина ЛМН для мойки матриц
не. Боковая поверхность станины с одной стороны образует корпус редуктора привода, с другой — опоры валов моющего механизма. Внутри поддона на горизонтально расположенных осях установлены два ролика 16 и 14, на которые ставят круглую или прямоугольную матрицу. На валу ролика 14 закреплено зубчатое колесо 72, с которым вводится в зацепление съемная зубчатая рейка 8. На рейке имеются упоры для закрепления прямоугольной матрицы 7.
Привод роликов осуществляется от электродвигателя 5 мощностью 0,4 кВт, с частотой вращения 1400 мин-1 через червячный редуктор 6 и систему шестерен. Привод имеет реверсивное управление. Реверс может быть автоматическим и ручным. Частота вращения круглых матриц 1,16 мин-1, скорость возвратно-поступательного движения прямоугольных матриц 15,8 мм/с.
Автоматический реверс осуществляется при мойке прямоугольной матрицы, которая в крайних положениях через упоры с рычагами воздействует на конечные выключатели.
Внутри поддона по обеим сторонам роликов установлены два качающихся трубопровода с индивидуальным подводом от насоса. Привод качающихся сопловых устройств осуществлен от общего редуктора с помощью цепной передачи 4, эксцентрика 18 и кулисного механизма 19. Частота качаний сопловых устройств 18,3 мин-1.
Бак-ловушка 13 имеет корытообразную форму, установлен под поддоном и разделен сетчатыми перегородками 13, 75 на три отсека. С одной стороны из бака по трубопроводу 7 7забирается очищенная вода и насосом по трубопроводу 2 подается на оба качающихся сопла, с противоположной — по сливному трубопроводу загрязненная тестовыми отходами вода сливается в баки.
Электрооборудование машины включает в себя два электродвигателя для привода и насоса, пульт управления, конечные выключатели и систему монтажных проводов. Электродвигатели имеют независимое друг от друга управление. Пуск и остановка их осуществляются с пульта управления. На боковинах поддона имеется два конечных выключателя, сблокированных с приводом насоса. При поднятии крышки поддона двигатель насоса отключается и подача воды к соплам прекращается.
На машину для мойки устанавливают предварительно отмоченные матрицы. Перед началом работы из системы подогрева воды в бак-ловушку заливают чистую воду температурой 30…40°С до
При мойке круглых матриц матрица вертикально ставится на приводные ролики и фиксируется ограничителем. С помощью кулисного механизма регулируется и устанавливается угол качания 25° соплового устройства из расчета охвата моющей струей не менее половины диаметра круглой матрицы.
При мойке прямоугольных матриц предварительно ставят зубчатую рейку, которую вводят в зацепление с приводным опорным роликом, а затем на рейке вертикально устанавливают и закрепляют матрицу. После этого ставят упоры, которые, воздействуя на конечные выключатели, осуществляют реверс привода, и рейка с матрицей совершает возвратно-поступательное движение. С помощью кулисного механизма регулируется угол качания соплового устройства. После выполнения отмеченных операций крышка поддона закрывается и включается насос.
Насос забирает воду из секции 15 бака-ловушки и подает ее на два сопловых качающихся устройства с обеих сторон матрицы. Очистка формующих отверстий макаронной матрицы происходит силой водяной струи, выходящей из сопел под давлением, при этом матрица равномерно моется с двух сторон. Отработанная вода попадает в бак-ловушку и, пройдя последовательно все три отсека, очищается и вновь поступает к насосу.
В процессе использования вновь очищенной воды для мойки матриц загрязненная вода частично удаляется, а к заборному устройству подается чистая. Продолжительность мойки круглой матрицы 20 мин, прямоугольной — 30 мин. Расход моющей воды на одну круглую матрицу 15 л, на прямоугольную — 25 л.
Правила содержания матриц. Для содержания матриц в должном техническом состоянии на предприятиях имеются графики смены матриц, их чистки, технического осмотра и ремонта. Каждая матрица закрепляется за определенным прессом и колосником, поэтому на матрице указывается номер пресса. Одна матрица находится в эксплуатации не более суток, после чего она подлежит замене.
Снимать матрицу с пресса следует только специальным съемником. При установке матрицы в кольцо пресса можно применять
Для мойки матриц на предприятии предусмотрено моечное отделение, которое включает в себя следующее оборудование и инвентарь:
- ванну для мойки матриц;
- ванну с гнездами для отмочки матриц. Гнезда расположены на высоте 150…200 мм от дна на расстоянии 150 мм одно от другого. К верхней части ванны подведен трубопровод для холодной и горячей воды. Для слива воды в канализацию предусмотрена труба с сеткой.
- световую подставку для проверки чистоты матрицы после мойки;
- специальный стеллаж или этажерку для хранения чистых матриц;
- шкаф с инструментом и запасными частями для ремонта матриц.
Матрицу опускают в ванну для отмочки и устанавливают на ребро. Температура воды в ванне 40…50°С, продолжительность отмачивания 10… 12 ч. После отмочки матрицу устанавливают в моечную машину. При осмотре необходимо обратить внимание на размеры и профиль отверстий и вкладышей. Вкладыши в формующих отверстиях должны быть плотно установлены, а ось вкладыша совпадать с осью отверстия. Края формующих щелей и вкладышей не должны иметь заусенцев.
Для технического осмотра и текущего ремонта вкладыши макаронной матрицы вынимают только в случае необходимости.
Удаление и центровка вкладышей производятся специальной оправкой, изготовленной из бронзы БрАНС9-4 и имеющей форму трубки, наружный диаметр которой принят в соответствии с наружным диаметром формующей щели -0,02 мм, а внутренний диаметр — в соответствии с диаметром ножки вкладыша +0,02 мм. Оправка концом упирается в опоры (заплечики) вкладыша, который выжимается из отверстия матрицы.

Останні коментарі