Обрати сторінку
Сушилка для окончательной сушки макаронов.

Сушилка для окончательной сушки макаронов.

Сушилка для окончательной сушки представляет собой пяти­ярусную камеру и состоит из привода, механизма перемещения бастунов, систем подогрева и вентиляции сушильного агента. Конструкция каркаса, привода и обшивок аналогична одно­именным сборочным единицам сушилки для...
Накопители-стабилизаторы макаронных изделий

Накопители-стабилизаторы макаронных изделий

Накопители-стабилизаторы представляют собой установки раз­личной вместимости, в которые после сушки поступают мака­ронные изделия, где накапливаются в течение одной или двух смен и стабилизируются  до температуры, необходимой для их упаковки. Накопление продукта...
Упаковывающее оборудование для хлебных, макаронных и кондитерских изделий.

Упаковывающее оборудование для хлебных, макаронных и кондитерских изделий.

Упаковывающее оборудование для хлебных, макаронных и кондитерских изделий. Завертывание, фасование и упаковывание хлеба, макаронных и кондитерских изделий производятся в целях предохранения их от влияния влаги, посторонних запахов, механических поврежде­ний, для...
Поточные линии хлебопекарного производства

Поточные линии хлебопекарного производства

В процессе комплексной механизации и автоматизации произ­водства отдельные машины и аппараты объединяют в агрегаты и поточные линии. Совокупность специализированных технологи­ческих машин, расположенных в соответствии с определенным технологическим процессом и...
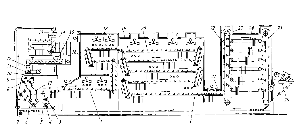
Поточные линии макаронного производства

Поточные линии макаронного производства

Линии представляют собой комплекс унифицированного обо­рудования, установленного в порядке технологического процесса и соединенного между собой транспортными средствами. На пред­приятиях отрасли производство макаронных изделий осуществля­ется в основном на...
Поточные линии кондитерского производства

Поточные линии кондитерского производства

На кондитерских фабриках кондитерские изделия производят на поточно-механизированных линиях, где в одном синхронном потоке выполняются все необходимые операции. Схема производства завернутой карамели с фруктово-ягодной начинкой. Технологический процесс приготовления...